B2CB4GK1 - 206 MA GEARBOX

IDENTIFICATION CENTERING OF THE GEARBOX INPUT SHAFT IN THE CRANKSHAFT

From the reinforced gearboxes MA, the crankshafts have a modified primary shaft .

1 - EARLIER ASSEMBLY

A = 13 minimum .

B = 40 maximum .

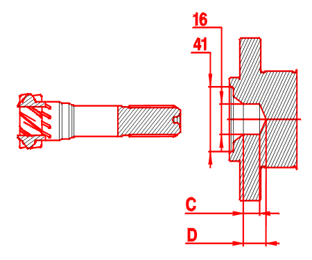
2 - LATER ASSEMBLY

C = 15 minimum .

D = 40 maximum .

The input shaft splines are lengthened by 2,5 mm .

It is possible to differentiate between the crankshafts by the diameter of the centre bore :

3 - INTERCHANGEABILITY

The old gearboxes are compatible with the new crankshafts .

The old crankshafts are not compatible with the new gearboxes .