B2FH02K1 - 206
REPLACEMENT DRIVE SHAFT BEARING ALL TYPES
1 - SPECIAL TOOLS

| reference | description | reference | reference |
|---|---|---|---|
| [1] | drive shaft bracket | (-).0403-R | (-).0403-R |

| reference | description | reference | reference |
|---|---|---|---|
| [2] | drive shaft retaining ring ø 72 mm | (-).0410-D | 4101-T |

| reference | description | reference | reference |
|---|---|---|---|
| [3] | drive shaft retaining ring ø 65 mm | (-).0410-F | 4518-T |

| reference | description | reference | reference |
|---|---|---|---|
| [4] | spider protector | (-).0410-J1 (-).0410-J2 (-).0410-J3 (-).0410-J4 |
(-).0410-J1 (-).0410-J2 (-).0410-J3 (-).0410-J4 |

| reference | description | reference | reference |
|---|---|---|---|
| [5a] | tool for fitting the MB3 automatic gearbox adapter sleeve | (-).0410-G | 4608-TH |
| [5b] | tool for fitting the AL4 automatic gearbox adapter sleeve | (-).0410-K | (-).0410-K |

| reference | description | reference | reference |
|---|---|---|---|
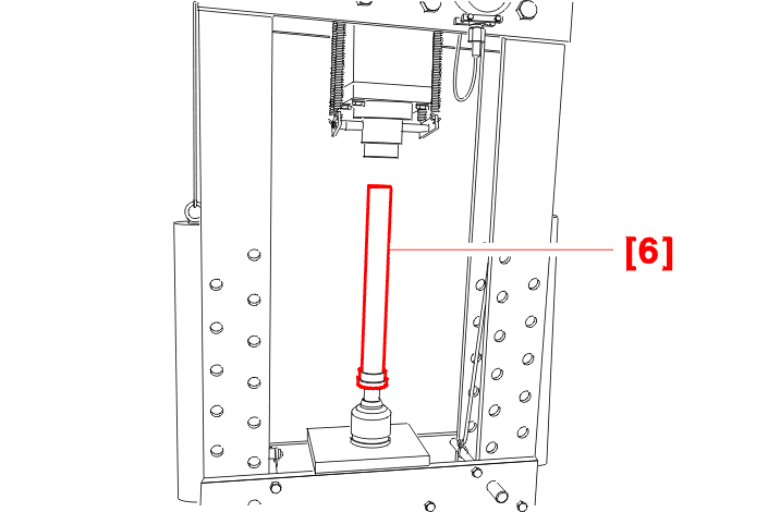
| [6] | tool for fitting the bearing | (-).0410-BZ | 0410-BZ |

| reference | description | reference | reference |
|---|---|---|---|
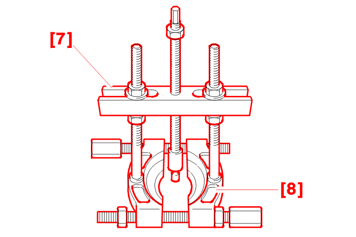
| [7] | mechanical bolt cross-piece | FACOM U 53 K2 | FACOM U 53 K2 |
| [8] | stripping device | FACOM U 53 T2 | FACOM U 53 T2 |

| reference | description | reference | reference |
|---|---|---|---|
| [9] | replacement tie-rod | FACOM U 53 RL | FACOM U 53 RL |
| [10] | adaptor | FACOM U 53 H | FACOM U 53 H |
[11] Clips-bindings fitting kit .

| reference | description | reference | reference |
|---|---|---|---|
| [12] | tripod fitting drift | (-).0410-C | 4101-T |

| reference | description | reference | reference |
|---|---|---|---|
| [13] | CLIC clip pliers | (-).0409 | 4178-T |

| reference | description | reference | reference |
|---|---|---|---|
| [14] | clip pliers : OETIKER | (-).0408 | 4151-T |
2 - REPLACEMENT OF THE BEARING
Uncouple the joint at the gearbox end (A) .
Using a press and the tool [8], remove the stop ring (2) and the bearing (3) simultaneously .
Other procedure :
Refit a new bearing and stop ring simultaneously using the tool [6] .
Fit a new O-ring .
Clean and grease the splines .
Special feature : Automatic gearbox .
Extract the sleeve (1) using the tools [12] and [8] .
Refit the sleeve using the tool [5a] or [5b] :