B3DJ08K1 - 206

OVERHAUL REAR SUSPENSION ARM (FITTING THE BEARING WITHOUT CLEARANCE) (WITH ANTI-ROLL BAR)

1 - SPECIAL TOOLS

[1] Slide hammer (-).0316-A .

[2] Inner bearing fitting drift (-).0533-R .

[3] Slide hammer adaptor (-).0533-E .

[4] Outer bearing fitting drift (-).0539-Q .

2 - REMOVAL

REMOVE THE REAR ARM .

2 - 1 - THE NEEDLE ROLLER BEARING (INNER END)

Remove :

2 - 2 - THE NEEDLE ROLLER BEARING (OUTER END)

Remove the lip seal with a screwdriver .

Remove :

3 - REFITTING

Always renew : The needle roller bearings .

Clean the bearing and stub axle housings on the arm .

All the re-assembly operations are performed on the press .

3 - 1 - THE NEEDLE ROLLER BEARING (OUTER END)

WARNING : before refitting : spray slip compound at (A), type MOLYKOTE 321R .

Fit :

3 - 2 - THE NEEDLE ROLLER BEARING (INNER END)

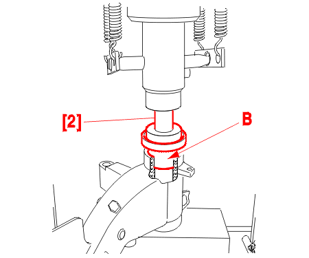
WARNING : before refitting : spray slip compound at (B), type MOLYKOTE 321R .

Fit :