B3ED0CK1 - 206

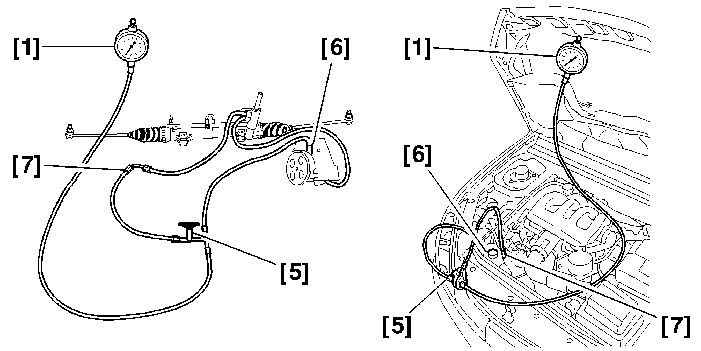
CHECK POWER STEERING PRESSURES

1 - SPECIAL TOOLS

Kit (-).0710-ZZ comprising :

[9] High pressure union socket (-).0720-E .

2 - PRELIMINARY OPERATIONS

WARNING : carry out the operation with care in order to prevent the entry of contaminating particles .

NOTE : correct operation of the equipment requires absolute cleanness of the fluid and the hydraulic components .

Check :

Drain the power steering fluid reservoir using a clean syringe .

Unscrew the pipe (1) using the tool [9] .

Remove the bolt (2) .

Move aside the pipe (1) .

Fit the unions [6] and [7] .

Tighten the union(s) [6] to 2 daN.m .

Connect the pressure gauge [1] .

The tap [5] makes it possible to close the supply to the valve .

FILL AND BLEED THE HYDRAULIC CIRCUIT USING FRESH FLUID .

Check there are no leaks .

3 - POWER STEERING PUMP PRESSURE

Close the tap [5] for 15 seconds .

At fast idle (1200 to 1500 revs/min), the pressure must be : 100 ± 5 bar(s) .

Power steering pump pressure low :

Power steering pump pressure correct :

4 - CHECKING THE SEALING OF THE VALVE

Disconnect from the valve the two ram supply pipes .

Fit the 2 caps on the valve [8], Tightening torque 0,8 da.Nm .

Top up the oil .

Turn the steering slowly from lock to lock to drain the ram .

Maintain the engine speed at fast idle .

Maintain the wheels at full lock to one side then the other .

The pressure should adjust to : 100 ± 5 bar(s) .

The pressure is correct :

The pressure is below the values above :

Rectify the circuit .

Tightening torque(s) :

BLEED THE HYDRAULIC CIRCUIT .

IMPERATIVE : check that the seals are present at the end of the valve-ram supply pipes .