B3EG0DK1 - 206 CONVENTIONAL STEERING POWER STEERING

REMOVAL - REFITTING : STEERING ASSEMBLY TRACK RODS

1 - REMOVAL

Place the vehicle on a two-post ramp .

Remove the front wheels .

Immobilise the steering rack : USING THE TOOL [1] .

IMPERATIVE : the tool [1] must be positioned on the teeth of the rack, on the left for left-hand drive, on the right for right-hand drive .

Release the tracking adjusting nut .

Remove the nut from the steering ball joint .

DETACH THE STEERING BALL JOINT USING THE EXTRACTOR [3] .

Remove the steering ball joint .

Unseat the pipe (1) from the gaiter (2) (According to specification) .

Remove the collar (3) .

Remove the collar (4) : Using a thin screwdriver (According to specification) .

Detach the sealing gaiter (2) .

NOTE : use a slip product (grease TOTAL N3924 / N3945) .

Apply maximum steering lock :

Turn the steering wheel approximately 1/8 turns in the opposite direction .

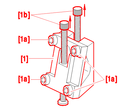
REMOVE THE 4 BOLTS OF THE TOOL [1A] .

Unscrew the threaded pins [1b] by a few turns .

Fit the tool [1] on the rack, the plate of the tool on the teeth side and the supports with ball joints at the bottom (sub-frame side) .

Position the tool [1] as far as possible in the teeth of the rack and so that the supports with ball joints of the tool [1] can come into contact with the mechanical components (sub-frame, anti-roll bar...) .

POWER STEERING CONVENTIONAL STEERING

The ball joints of the tool [1] come into contact with the sub-frame .

Tighten the 4 bolts [1a] of the tool [1] .

IMPERATIVE : screw in the threaded pins [1b] by hand to create only simple contact of the ball joints of the tool [1] on the sub-frame .

Position the tool [2] on the connecting rod to be replaced .

NOTE : in the case of replacement of the connecting rod on the opposite side to the pinion, remove the gaiter but leave the tool [1] in place on the pinion side .

Remove the track rod : USING THE TOOL [2] .

2 - REFITTING

Refit the connecting rod to the rack .

Using the tool [2], tighten the connecting rod :

REMOVE THE TOOL [1] .

Grease (TOTAL N3924 / N3945 grease) :

NOTE : do not apply grease at (B) .

Fit a new gaiter (2) .

WARNING : position the mating surfaces of the gaiter correctly at (C) and (D) .

FIT THE NEW RETAINING COLLAR (4) AND TIGHTEN IT WITH THE COLLAR PLIERS [4] .

Check and adjust the track .

IMPERATIVE : fit the pipe (1) to the gaiter (2) (according to specification) .

Fit :

Tightening torque of the steering ball joint on the pivot :

Tighten the wheel bolts :

Adjust the wheel alignment .