C5DG0CF1 - 206
REMOVAL - REFITTING REAR SCREEN WIPER MOTOR
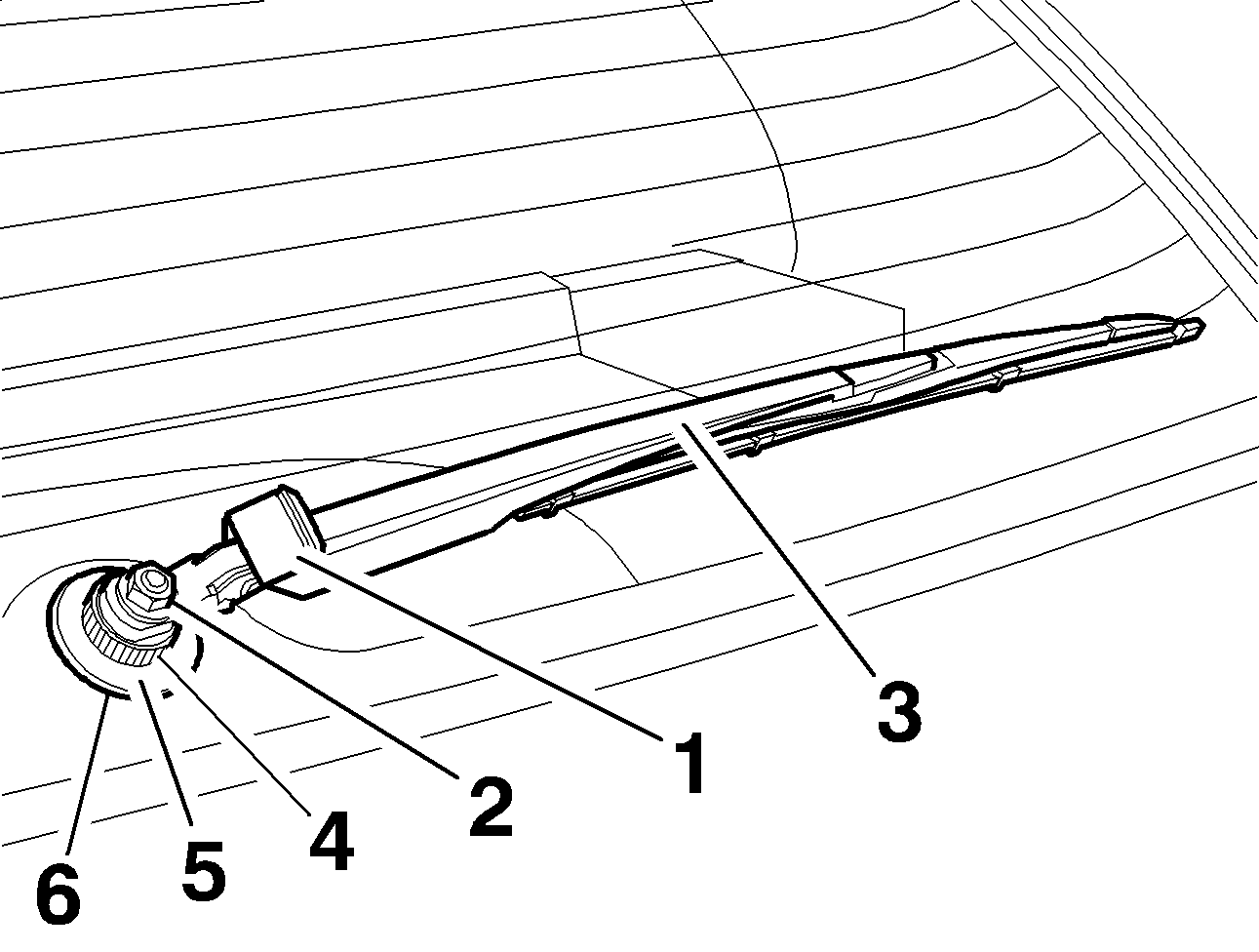
1 - REMOVAL

Release the cover (1) .
Remove :

Unclip the trim (7) .

Disconnect the connector (8) .
Drill out the rivets (9) using a 0.75 mm drill bit .
IMPERATIVE : when removing the rivets : protect the screen and the tailgate ; limit the depth of drilling to 15 mm ; localise the falling of the rivets by placing cloths each side of the motor support in the tailgate(for this operation, wear protective goggles) .
Remove :
2 - REFITTING
IMPERATIVE : recover the rivets which fall into the tailgate to prevent noise (remove the cloths) .
NOTE : before tightening the wiper arm, operate the wiper, place the stalk in the stop position and correctly position the arm-blade on the marks on the rear screen .
Proceed in the reverse order to removal .