C7AP0AV1 - 206
FITTING CARAVAN ATTACHMENT
1 - PRESENTATION
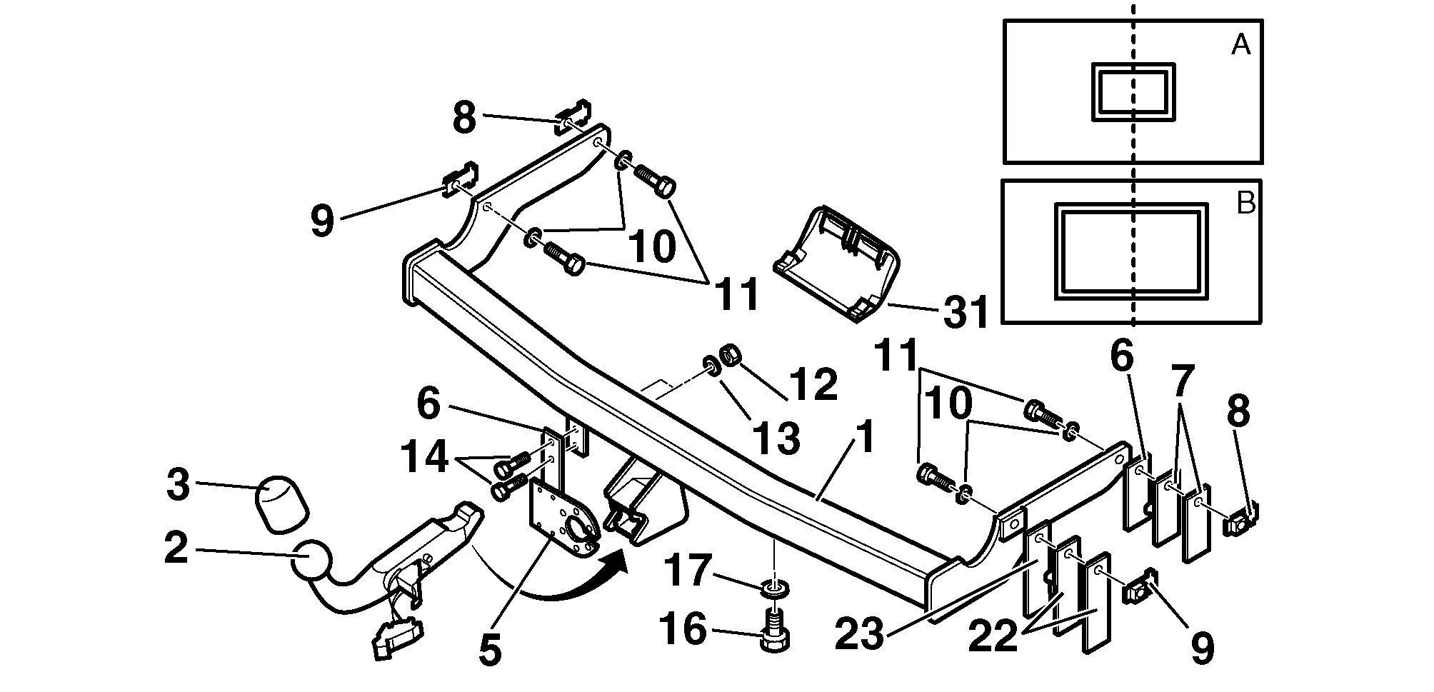
1 - 1 - RDSO TOW BAR (TOW BALL REMOVABLE WITHOUT A TOOL) : BRINK PART NO. 9627.CA
9627.CA tow bar data :
| description | reference | quantity | tightening torque(s) (da.Nm) |
|---|---|---|---|
| towing frame | 1 | 1 | |
| ball joint | 2 | 1 | |
| tow ball cover | 3 | 1 | |
| tow bar socket bracket | 5 | 1 | |
| adjustment shim 1 mm | 6 | 1 | |
| adjustment shim 2 mm | 7 | 2 | |
| cage nuts : number 5 | 8 | 2 | |
| cage nuts : number 1 | 9 | 2 | |
| washer (28 x 10,2 x 2,2) | 10 | 4 | |
| bolt (M 10 x 35) | 11 | 4 | 5 |
| nut (HM 8) | 12 | 2 | 2 |
| washer ø 8 GROWER | 13 | 2 | |
| bolt (M 8 x 20) | 14 | 2 | |
| bolt | 16 | 1 | 1 |
| washer | 17 | 1 | |
| bumper flap (under primer) | 31 | 1 | |
| template A | A | 1 | |
| template B | B | 1 | |
| adjustment shim 2 mm | 22 | 2 | |
| adjustment shim 1 mm | 23 | 1 |
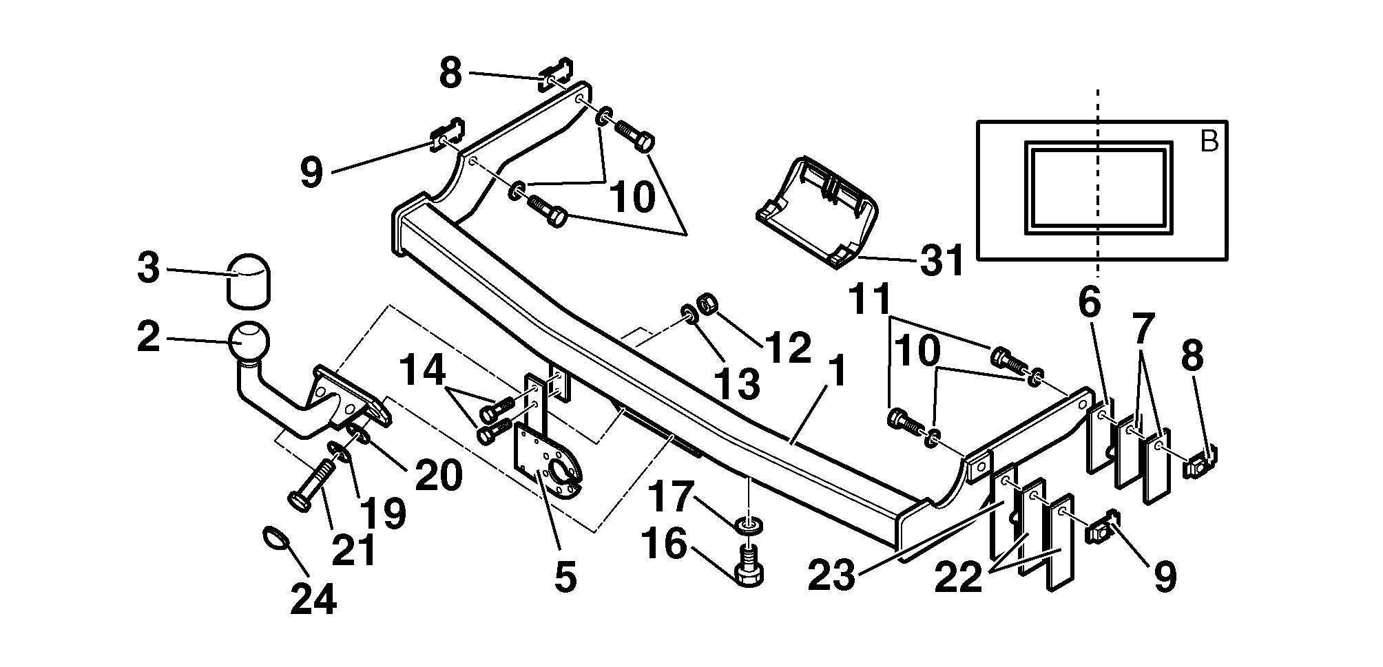
1 - 2 - MONOBLOC BALL TOW HITCH : BRINK PART NO. 9627.CP/9627.CQ
9627.CP tow bar data :
9627.CQ tow bar data :
| description | reference | quantity | tightening torque(s) (da.Nm) |
|---|---|---|---|
| towing frame | 1 | 1 | |
| ball joint | 2 | 1 | |
| tow ball cover | 3 | 1 | |
| tow bar socket bracket | 5 | 1 | |
| adjustment shim 1 mm | 6 | 1 | |
| adjustment shim 2 mm | 7 | 2 | |
| cage nuts (number 5) | 8 | 2 | |
| cage nuts (number 1) | 9 | 2 | |
| washer 28 x 10 x 2,2 | 10 | 4 | |
| bolt (HM 10 x 35) | 11 | 4 | 5 |
| nut (HM 8) | 12 | 2 | 1 |
| washer ø 8 GROWER | 13 | 2 | |
| bolt (M 8 x 20) | 14 | 2 | 1 |
| bolt | 16 | 1 | |
| washer | 17 | 1 | |
| bolt (M 16 x 45 8.8) | 21 | 2 | |
| washer ø 16 GROWER | 19 | 2 | 1 |
| bolt cover | 24 | 2 | |
| bumper flap (under primer) | 31 | 1 | |
| template B | B | 1 | |
| adjustment shim 2 mm | 22 | 2 | |
| adjustment shim 1 mm | 23 | 1 | |
| washer ø 30 | 20 | 2 |
1 - 3 - TOWING CAPACITY
For the towing capacity, consult the vehicle handbook .
2 - BUMPER CUT-OUT
It is not necessary to remove the bumper to make the cut-out for the passage of the ball .
The bumper cut-out must be made before fitting the tow bar .
The tow bar electrical harness sold separately must be fitted before fitting the tow bar .
The bumper flap (31) supplied with the tow bar is ready for painting .
Notes (For tow bar Part Number 9627.CA) :
Notes (For tow bar Part Number 9627.CP/9627.CQ) :
2 - 1 - FITTING - BUMPER CUTTING TEMPLATE (FOR TOW BAR PART NUMBER 9627.CP)
Clean the bumper before sticking on the self-adhesive bumper cut-out template .
Mark a line (J') on the centre part of the bumper at 348 mm from point (K) .
Align the bottom of the cut-out template with the bottom edge of the bumper .
Align the line (J) on the template with the line (J') on the bumper then stick the template .
Carefully make the bumper cut-out according to the dotted lines on the template .
2 - 2 - FITTING - BUMPER CUTTING TEMPLATE (FOR TOW BAR PART NUMBER 9627.CA/9627.CQ)
Mark a line (J') on the centre part of the bumper at 166 mm from point (K) made by the bumper bracket .
Align the bottom of the cut-out template with the bottom edge of the bumper .
Align the line (J) on the template with the line (J') on the bumper then stick the template .
Carefully make the bumper cut-out according to the dotted lines on the template .
2 - 3 - FITTING THE BUMPER FLAP
1 - For tow bar Part Number 9627.CP :
2 - For tow bar Part Number 9627.CA/9627.CQ :
3 - FITTING THE TOWBAR
NOTE : the tow ball must be removed after use as it masks the rear fog lamp .
Remove the spare wheel .
Use a lubricant to aid removal of the rubber rings (C) supporting the rear silencer .
Remove the fastenings (D) and the rear silencer heat shield (E) according to specification .
Remove the nuts (F) from the bumper brackets (G) then swing the brackets down .
Insert the cage nuts reference (8) and (9) into the side member (Exhaust side) .
Insert the cage nuts reference (8) and (9) into the side member (right side) .
Assemble the tow bar reference (1) to the side member on the exhaust side of the vehicle with the fastenings reference (10) and (11) .
Partly tighten the fastenings (11) to bring the tow bar reference (1) against the vehicle side member .
Insert a bolt (11) to hold the tow bar in place on the right-hand side member of the vehicle .
Determine the clearance between the vehicle's right-hand side member and the tow bar with the shims (6) and (7) if necessary .
Remove the bolt (11), insert the shims (6)-(7)-(22) or (23) if necessary then attach the tow bar (1) to the right-hand side member of the vehicle with the fastenings (10) and (11) .
Tighten the bolts (11) to the correct torque on the left- and right-hand side members of the vehicle .
Secure the bumper fixing bracket(s) (G) with the fastenings (F) .
Secure the bumper fixing bracket(s) (H) with the fastenings (16)-(17) .
Attach the tow bar harness socket bracket (I) to the tow bar (1) with the fasteners (12)-(13)-(14) .
Fit the silencer heat shield .
If there is contact between the heat shield and the tow bar, bend the edge of the heat shield a little to give a clearance of 2 mm .
Fit the exhaust silencer .
3 - 1 - FITTING : SWAN-NECK BALL TOW HITCH
Secure the tow ball (2) to the towbar crossmember (1) using the fasteners (19)-(20)-(21) .
IMPERATIVE : the tightness of the bolts must be checked after the first 1000 kilometres of towing .
3 - 2 - FITTING : RDSO TOW BAR (TOW BALL REMOVABLE WITHOUT A TOOL)
Before engaging the tow ball in its housing, check that the locks (29) and (30) are fully in position (A) .
Protect the locking mechanism with the protective cover (28) .
3 - 3 - DISMANTLING : RDSO TOW BAR (TOW BALL REMOVABLE WITHOUT A TOOL)
Remove the protective cover (58) .
Release the tow ball by pressing the latches .
Remove the tow ball from its housing (34) .