C7AP0MV1 - 206
FITTING ROOF BARS
1 - SAFETY
These bars are designed to be fitted at a precise location on the vehicle; attachment to the vehicle is not guaranteed if the positioning differs from that shown in these instructions .
It is essential that the fastening bolts must be re-tightened, and the lashing straps checked, after driving a few miles .
Lashing luggage with elastic means (bungee, tensioner, etc.) is forbidden, straps are recommended .
The metal securing brackets have been given a special treatment to protect the paintwork of your vehicle; this treatment was the subject of very thorough research .
Do not fit any additional packing (rubber, plastic or anything else) between the securing brackets and the bodywork, or the bars may not be properly secured .
Take into account the new behaviour of the vehicle (side winds, bends and braking) when the bars are loaded .
Non-compliance with these instructions absolves the manufacturer from any responsibility .
WARNING : these bars are designed to carry 50 kg evenly distributed .
2 - PRESENTATION OF BAR KITS
2 - 1 - COMPOSITION OF THE 3 DOOR BAR KIT (PART NO. 9616.L2)
(A) Front bar .
(B) Rear bar .
| description | reference | quantity | tightening torque : da.Nm |
|---|---|---|---|
| fitted out front bar | 1 | 1 | |
| fitted out rear bar | 2 | 1 | |
| rubber block | 3 | 4 | |
| clamps with block support | 4 | 2 | |
| braces | 5 | 2 | |
| plastic finisher | 6 | 4 | |
| self tapping screw(s) | 7 | 1 | |
| bolt(s) M6 x 12 | 8 | 4 | |
| bolt(s) M6 x 20 | 9 | 4 | |
| Grower washer external diameter 11 mm | 10 | 4 | |
| plain washer external diameter 12 mm | 11 | 4 | |
| bolt(s) M8 x 60 | 12 | 2 | |
| plain washer ø 16 | 13 | 2 | |
| spring washer external diameter 14 mm | 14 | 2 | |
| anti-abrasion film 80 x 130 | 15 | 2 | |
| 6-sided Allen key (for bolts: (8)-(9)) | 16 | 1 | |
| 6-sided Allen key (for bolts: (12)) | 17 | 1 | |
| spacer (length (L) = 27,5 mm) | 18 | 2 | |
| plain washer external diameter 21 mm | 19 | 2 | |
| assembly instructions | 1 | ||
| set of 2 spanners | 1 |
2 - 2 - COMPOSITION OF THE 5 DOOR BAR KIT (PART NO. 9616.L3)

| description | reference | quantity | tightening torque : da.Nm |
|---|---|---|---|
| fitted out front bar | 1 | 1 | |
| fitted out rear bar | 2 | 1 | |
| rubber block | 3 | 4 | |
| clamps with block support | 4 | 4 | |
| plastic finisher | 6 | 4 | |
| self tapping screw(s) | 7 | 1 | |
| bolt(s) M6 x 12 | 8 | 8 | |
| bolt(s) M6 x 20 | 9 | 8 | |
| Grower washer external diameter 11 mm | 10 | 8 | |
| plain washer external diameter 12 mm | 11 | 8 | |
| anti-abrasion film 80 x 130 | 15 | 4 | |
| 6-sided Allen key (for bolts: (8)-(9)) | 16 | 1 | |
| assembly instructions | 1 | ||
| set of 2 spanners | 1 |
2 - 3 - IDENTIFICATION OF ROOF BAR COMPONENTS
Identification of the 3 door bar clamps :
The position of the clamps (5) on the vehicle is determined by the number on the internal face at XXXX .
Identification of the 5 door bar clamps :
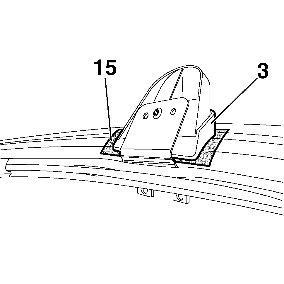
Identification of the rubber blocks (Reference 3) .
XXXX : 4 figure number .
Identification of the roof bars .
(G) Marking for front roof bar .
(H) Marking for rear roof bar .
Identification of the plastic trims (Reference 6) .
The position of the finisher (6) on the vehicle is determined by the number on the internal face (XXXX) :
3 - PREPARATION
3 - 1 - VEHICLE PREPARATION
Open the front and rear doors .
Taking care not to scratch the paint remove the black adhesive patches covering the roof bar securing points .
Use the self tapping screw (7) to clean the paint from the tapped holes .
Clean the vehicle roof .
3 - 2 - PREPARATION OF THE CLAMPS (4) AND THE ABUTMENT BLOCKS (3)
Assemble the clamps (4) and the blocks (3) in accordance with the following instructions .
For 206 - 5-door (Front/Rear) :
For 206 - 3-door (Front) :
For 206 - 3-door (Rear) :
3 - 3 - FITTING THE ROOF BARS
IMPERATIVE : as the roof bars have been adjusted by the supplier, the securing screws (I) must never be unscrewed .
NOTE : if the roof bars are to be used permanently, it will be necessary to stick on the anti-abrasion film ; for this, mark the area of contact of the clamps (3) on the roof then stick the anti-abrasion film (15) on the roof at these contact areas .
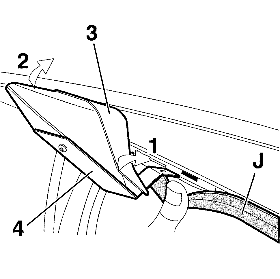
For the 3 door front bar and the 5 door front/rear bars .
Partially remove the gutter seal (J) .
Insert, in the direction of the arrow (1), the clamps (4) in the slots under the gutter seal .
Pivot the clamps in the direction of the arrow (2) to bring the clamp (3) in contact with the roof .
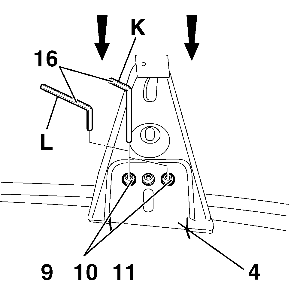
Secure the clamps (4) with the screws (8) starting with the key (16) in position (K) and tightening with it in position (L) .
Fit the seal correctly (J) .
Place the front or rear bars on the clamps (4) .
Attach the front and rear bars to the clamp (4) on one side of the vehicle with the fasteners (9)-(10)-(11) starting with the key (16) in position (K) and tightening with it in position (L) .
Attach the front and rear bars to the other side of the vehicle on the clamps (4) with the fasteners (9)-(10)-(11) by pressing down hard on the bar .
Insert the Allen key (16) in the hole provided at the end of the bar .
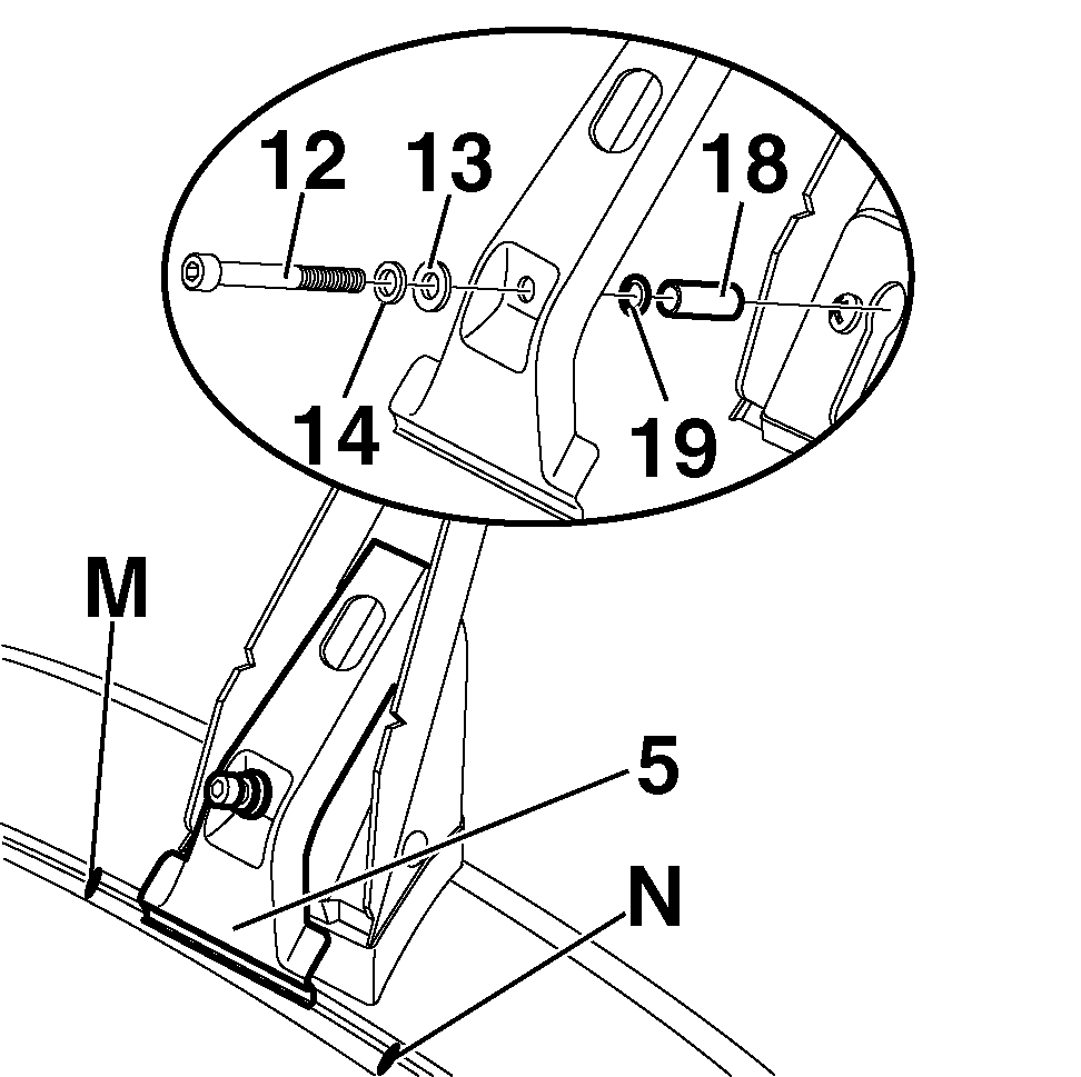
For the 3 door rear bar .
Fit the bar with its blocks (3) on the roof of the vehicle, with the block (3) reference 8213 on the driver's side and the block reference 8214 on the passenger's side .
Centralise the bar between the 2 bosses (M) and (N) on the roof .
According to the vehicle's specification, open the rear windows .
Centralise and insert the clamps (5) between the 2 bosses (M) and (N) on the roof; assemble them to the bar by inserting the fasteners (12)-(13)-(14)-(18)-(19) and tightening them by hand .
Follow the order of assembly of the fasteners .
Before alternately fully tightening the left- and right-hand clamps (5) to the bar with the key (17), ensure that the clamps are fully in place between the 2 bosses .
3 - 4 - FITTING THE TRIMS
Clip the finisher (6) to the roof bar at (O) then pivot it at (P) .
Secure the finisher with the key .
4 - REMOVING THE 3 DOOR FRONT ROOF BARS AND THE 5 DOOR FRONT AND REAR ROOF BARS
Remove the screws (9) securing the bars to the clamp (4) (one side at a time) then, with the palm of the hand, strike the bar sideways at (Q) to unclip the bar from the clamp (4) .
Remove the screws (9) from the other side then remove the bars .
After removing the roof bars, return the screws (8) to their holes .
5 - RETURNING THE VEHICLE TO STANDARD
On selling the vehicle, remove the roof bar securing screws and apply adhesive tape to cover the roof bar securing holes .
6 - LOADING INSTRUCTIONS
The load must be evenly distributed, with the centre of gravity as low as possible .
Luggage must not overhang the load area .
6 - 1 - EXAMPLE OF LASHING A LOAD
Use the vehicle lashing eyes (R) and (S) to secure long loads and reduce speed .
(Notice valid subject to product modification) .