B3DG0TK1 - 206 TU1JP ENGINE

REMOVAL - REFITTING REAR SUSPENSION ARM

1 - SPECIAL TOOLS

[1] plate (-).0539-J .

[2] Centraliser (-).0539-K .

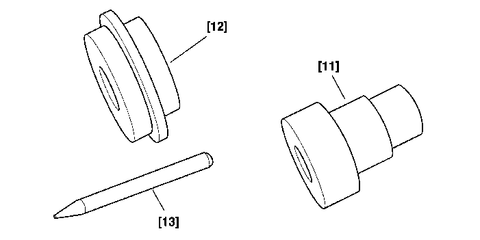
[3] The stud : Length 225 mm (-).0539-M .

[4] The stud : Length 265 mm (-).0539-N .

[5] The stud : Length 280 mm (-).0539-L .

[6] Bolt (-).0539-P .

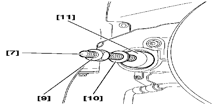
[7] Threaded rods (-).0538-B1 .

[8] Long nuts (-).0538-B2 .

[9] Nuts (-).0538-B3 .

[10] washers (-).0538-B4 .

[11] Abutment ring (-).0539-U1 .

[12] Abutment ring (-).0539-U2 .

[13] Locking tool (-).0526-J .

2 - REMOVAL

WARNING : fitting one arm requires the removal and refitting of the other arm .

Disconnect the handbrake cables (1) at the balance beam .

Remove :

Support the arm with a jack .

Unclamp :

Remove the rear hub ; DRUM .

Remove the sensor (2) (according to specification) .

Remove the four bolts (3) securing the brake back plate, remove it and suspend it in the wheel arch .

WARNING : cut as close as possible to the edge in order not to touch the pivot .

Cut off the outer flange of the bearing (On both sides) .

Push back the edge of the bearing outer race against the arm .

On the right-hand side .

Position :

Position :

Grease the threads of the plate, the adaptor and the bolt abutment at (A) .

Screw in the bolt until it contacts the centraliser .

Tighten the nuts .

Extract the arm .

Remove the tools .

On the left-hand side .

Position :

Grease the threads of the plate, the adaptor and the bolt abutment at (B) .

Screw in the bolt until it contacts the centraliser .

Tighten the nuts .

Extract the arm .

Remove the tools .

3 - REFITTING

IMPERATIVE : before refitting the arm, replace the bearingsBEARING WITHOUT CLEARANCE .

Clean all parts before fitting them .

Check that :

Grease the cross shaft (With TOTAL N3373 type grease) .

Prepare the refitting tools .

Tighten the connecting nuts [8] on the threaded rods [7] .

3 - 1 - REFITTING THE 1ST ARM TO THE CROSSMEMBER (ON THE LEFT-HAND SIDE)

Position the threaded rod assembly in the crossmember .

On the opposite side .

Fit to the threaded rod [7] :

On the side of the arm to be refitted .

Insert the bar into the rear cross tube .

Fit to the threaded rod [7] :

Tighten the nut to fit the arm into the crossmember .

Swing the arm like a pendulum .

Move the arm to its fitting position .

Distance (D) = 4.5 mm .

FIT THE TORSION BAR ; Coat the splines of the bar with ESSO NORVA 275 grease .

The position of the arm is given by the length of the torsion bar .

3 - 2 - FITTING THE 2ND ARM TO THE CROSS-MEMBER (ON THE RIGHT-HAND SIDE)

On the opposite side .

Fit to the threaded rod [7] :

On the side of the arm to be refitted .

Insert the bar into the rear cross tube .

Fit to the threaded rod [7] :

Tighten the nut to fit the arm into the crossmember .

Move the arm to its fitting position .

Distance (E) = 4.5 mm .

Fit the torsion bar (Coat the splines of the bar with ESSO NORVA 275 grease) .

The position of the arm is given by the length of the torsion bar .

Apply a bead of TOTAL N3373 type grease in the area (F) .

Fit : The specific service steel cap .

Fit :